Катаева Наталья Опубликовано 21 ноября, 2011 Поделиться #351 Опубликовано 21 ноября, 2011 Могу ошибаться, но не его ли называют дальневосточной леопардовой кошкой (охота запрещена, занесена в Красную Книгу)? Шью только мех Ссылка на сообщение Поделиться на другие сайты Поделиться
strela Опубликовано 21 ноября, 2011 Поделиться #352 Опубликовано 21 ноября, 2011 Девочки! подскажите меховое ателье в Москве где можно переделать шапку - ушанку ( обманку ). Шапка неношеная, мех хороший, голубая норка. Может кто-то переделывал? Ссылка на сообщение Поделиться на другие сайты Поделиться
Просто Эльвира Опубликовано 22 ноября, 2011 Поделиться #353 Опубликовано 22 ноября, 2011 Девочки! подскажите меховое ателье в Москве где можно переделать шапку - ушанку ( обманку ). Шапка неношеная, мех хороший, голубая норка. Может кто-то переделывал?Из формовок мужских шила модели:"Скрудж", "Чарли", "Доктор Ватсон" и др.Можно комбинировать с кожей и мутоном, т.п. Никогда не бойся делать то,что ты не умеешь.Помни, ковчег построен любителем,а "Титаник"-профессионалами... Ссылка на сообщение Поделиться на другие сайты Поделиться
Просто Эльвира Опубликовано 22 ноября, 2011 Поделиться #354 Опубликовано 22 ноября, 2011 (изменено) Хочу спросить у вас хорошего совета. Есть шкурки липпи (рысеподобной кошки) и хочется сшить из них головной убор... Как думаете, какую лучше выбрать модель, если ворс не высокий и мездра тонкая и мягкая? Вот эти шкурки.А как Вам такие модели? Здесь и спинки и животики. Изменено 22 ноября, 2011 пользователем Просто Эльвира Никогда не бойся делать то,что ты не умеешь.Помни, ковчег построен любителем,а "Титаник"-профессионалами... Ссылка на сообщение Поделиться на другие сайты Поделиться
Клюковка Краснихина Опубликовано 22 ноября, 2011 Поделиться #355 Опубликовано 22 ноября, 2011 Спасибо, модели все красивые и оригинальные, но они из пушистого меха. А из коротковорсового только берет и получится? Ссылка на сообщение Поделиться на другие сайты Поделиться
strela Опубликовано 22 ноября, 2011 Поделиться #356 Опубликовано 22 ноября, 2011 Эльвира , спасибо, что ответили, видела Ваши работы, но я живу в Москве Ссылка на сообщение Поделиться на другие сайты Поделиться
Просто Эльвира Опубликовано 22 ноября, 2011 Поделиться #357 Опубликовано 22 ноября, 2011 (изменено) Спасибо, модели все красивые и оригинальные, но они из пушистого меха. А из коротковорсового только берет и получится?Хорошо получится из Ваших кисок. Приведу пример из норки (инет), пример раскроя из ваших шкур.А при раскрое берета , я думаю, что красивые брюшки не включатся в изделие.Я не представляю, не вижу берет. Хотя очень может быть. Изменено 22 ноября, 2011 пользователем Просто Эльвира Никогда не бойся делать то,что ты не умеешь.Помни, ковчег построен любителем,а "Титаник"-профессионалами... Ссылка на сообщение Поделиться на другие сайты Поделиться
Просто Эльвира Опубликовано 22 ноября, 2011 Поделиться #358 Опубликовано 22 ноября, 2011 Эльвира , спасибо, что ответили, видела Ваши работы, но я живу в МосквеStrela, я все лишь идею подала. А свои услуги по пошиву я Вам не предлагаю, жаль расстояние нас разделяет. Никогда не бойся делать то,что ты не умеешь.Помни, ковчег построен любителем,а "Титаник"-профессионалами... Ссылка на сообщение Поделиться на другие сайты Поделиться
Клюковка Краснихина Опубликовано 22 ноября, 2011 Поделиться #359 Опубликовано 22 ноября, 2011 Эльвира, я тоже берета из шкурок липпи не вижу... Если расположить хребет из липпи в берете как на ваших моделях из норки - не красиво будет. Может модель шестиклинки подойдет, как думаете? Ссылка на сообщение Поделиться на другие сайты Поделиться
Катаева Наталья Опубликовано 22 ноября, 2011 Поделиться #360 Опубликовано 22 ноября, 2011 Эльвира, я тоже берета из шкурок липпи не вижу... Если расположить хребет из липпи в берете как на ваших моделях из норки - не красиво будет. Может модель шестиклинки подойдет, как думаете? Из них красивые ушанки получаются. Видела такую на выставке в прошлом году, с тех пор мечтаю о такой.... Шью только мех Ссылка на сообщение Поделиться на другие сайты Поделиться
тусси Опубликовано 22 ноября, 2011 Поделиться #361 Опубликовано 22 ноября, 2011 (изменено) http://tommy.intermoda.ru/gallery/showBig/id/8141 там коллекция из рысевидной кошки, которую в этом году на шапо демонстрировали... мб навеет что-то...вот еще любопытная шапочка http://www.kordon.ru/shapo/photo-shapo10/102.jpg Изменено 22 ноября, 2011 пользователем тусси Профессионализм - это отсутствие иллюзий. Ссылка на сообщение Поделиться на другие сайты Поделиться
Клюковка Краснихина Опубликовано 23 ноября, 2011 Поделиться #362 Опубликовано 23 ноября, 2011 Спасибо, много интересных моделей. Попробую быть смелее с непривычным мехом. Ссылка на сообщение Поделиться на другие сайты Поделиться
Просто Эльвира Опубликовано 23 ноября, 2011 Поделиться #363 Опубликовано 23 ноября, 2011 Эльвира, я тоже берета из шкурок липпи не вижу... Если расположить хребет из липпи в берете как на ваших моделях из норки - не красиво будет. Может модель шестиклинки подойдет, как думаете?Давайте рассуждать:- если бы эти шкуры принадлежали заказчику и стоял бы вопрос выбора модели, то конечно же можно было предложить берет из нескольких шкур (клиньев)( я бы остановилась на 4 клиньях, чтобы включить брюшки в изделие);- если эти шкуры принадлежат Вам, но вы хотите продать как можно больше изделий из них, то надо использовать каждую шкуру на одно изделие, тогда надо пошить разные модели и берет в том числе, но из одной шкуры (по выкройке "Поваренка"). Никогда не бойся делать то,что ты не умеешь.Помни, ковчег построен любителем,а "Титаник"-профессионалами... Ссылка на сообщение Поделиться на другие сайты Поделиться
Клюковка Краснихина Опубликовано 23 ноября, 2011 Поделиться #364 Опубликовано 23 ноября, 2011 Спасибо! Заинтересовала выкройка "Поваренка", в двух словах не расскажите о ней? Или может нарисуете? Ссылка на сообщение Поделиться на другие сайты Поделиться
Просто Эльвира Опубликовано 23 ноября, 2011 Поделиться #365 Опубликовано 23 ноября, 2011 (изменено) Спасибо! Заинтересовала выкройка "Поваренка", в двух словах не расскажите о ней? Или может нарисуете?Так как Ваши шкуры широкие, можно сшить бесшовный берет (Поваренок).Вырезается круг (хребетик по центру) и собирается на ободок (околыш), можно ассиметричный, с одной стороны высокий, а с другой - низкий (из животика). При этом можно сделать фестоны из ножек, там, где ворс невысокий. Вырезаются по кругу вытачки 6-8 штук и вставляются в них фестоны ввиде треугольников, отсюда и название модели.Кстати, в китайских журналах есть выкройка берета: вырезается круг , затем вытачки просто сшиваются по кругу, тоже вариант. Изменено 23 ноября, 2011 пользователем Просто Эльвира Никогда не бойся делать то,что ты не умеешь.Помни, ковчег построен любителем,а "Титаник"-профессионалами... Ссылка на сообщение Поделиться на другие сайты Поделиться
Просто Эльвира Опубликовано 23 ноября, 2011 Поделиться #366 Опубликовано 23 ноября, 2011 http://tommy.intermoda.ru/gallery/showBig/id/8141 там коллекция из рысевидной кошки, которую в этом году на шапо демонстрировали... мб навеет что-то...вот еще любопытная шапочка http://www.kordon.ru/shapo/photo-shapo10/102.jpgСпасибо отдельное за ссылку на шикарный показ моделей! Никогда не бойся делать то,что ты не умеешь.Помни, ковчег построен любителем,а "Титаник"-профессионалами... Ссылка на сообщение Поделиться на другие сайты Поделиться
Клюковка Краснихина Опубликовано 24 ноября, 2011 Поделиться #367 Опубликовано 24 ноября, 2011 Эльвира, тогда донышко в "Поваренке" получится волнистым? Я правильно поняла? Ссылка на сообщение Поделиться на другие сайты Поделиться
Просто Эльвира Опубликовано 24 ноября, 2011 Поделиться #368 Опубликовано 24 ноября, 2011 Эльвира, тогда донышко в "Поваренке" получится волнистым? Я правильно поняла?Нет, донышко ровное. Края донышка (т.е боковая часть берета) волнистая, рельефная, с фестонами.Попробую найти фото. Никогда не бойся делать то,что ты не умеешь.Помни, ковчег построен любителем,а "Титаник"-профессионалами... Ссылка на сообщение Поделиться на другие сайты Поделиться
cvet Опубликовано 28 ноября, 2011 Поделиться #369 Опубликовано 28 ноября, 2011 Где можно посмотреть выкройку и пошив шапки из лисы,форма круглая,повторяющая форму головы? Ссылка на сообщение Поделиться на другие сайты Поделиться
наталья неретина Опубликовано 28 ноября, 2011 Поделиться #370 Опубликовано 28 ноября, 2011 Вы имеете ввиду "Круглую шапочку"? Ссылка на сообщение Поделиться на другие сайты Поделиться
cvet Опубликовано 28 ноября, 2011 Поделиться #371 Опубликовано 28 ноября, 2011 Да,спасибо за отклик! Ссылка на сообщение Поделиться на другие сайты Поделиться
рита чагина Опубликовано 5 декабря, 2011 Поделиться #372 Опубликовано 5 декабря, 2011 Вот подробный МК как сделать шапку:вязание+мех. http://www.livemaster.ru/topic/84099-izgot...yazanuyu-osnovu? С уважением Рита Чагина. Ссылка на сообщение Поделиться на другие сайты Поделиться
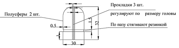
Просто Эльвира Опубликовано 11 декабря, 2011 Поделиться #373 Опубликовано 11 декабря, 2011 (изменено) Где можно посмотреть выкройку и пошив шапки из лисы,форма круглая,повторяющая форму головы?Из инета:Головные уборы из длинноворсового меха(песец, лиса, енот) 1. Шапки шьются круглой и мягкой формы, плотно прилегают по голове и шьют на рабочей болванке. (см. рис. 1) Рис. 1. Чертеж рабочей болванки2. Шапка состоит из стенки и донышка.2.1. Шкурку раскрываем по брюшку (относится к песцу и еноту, у чернобурки необходимо проверить мех, переход качества меха хребта и брюшка)2.2. Находим линию хребта (наколоть линию булавками со стороны меха, затем со стороны мездры по булавкам провести линию пастовым карандашом).2.3. Выравниваем огузок под линейку, отступить от огузка 3 см. (см. рис.2)2.4. Отрезаем лезвием со стороны мездры на весу, прорезая только шкурку, не трогая волосяной покров.2.5. Далее по хребту откладываем 1/2 размера головы + 1 см. на шов.Пример: размер головы = 58 см, значит (58 : 2) + 1 = 30см.2.6. Далее отрезаем этот кусок лезвием, далее разрезаем по хребту, получили 2 одинаковые половинки на стенку, затем сшиваем их огузками между собой.Затем сшиваем шеи. Линия хребта идет ко лбу, а живот идет к макушке, направление шва встык, огузочные части ко лбу, а шеи к затылку. Из оставшейся шейной части выкраиваем донышко, линия хребта у донышка должна идти по центру. Находим центровые части у донышка и стенки, скрепляем их, затем сшиваем швом через край, припосаживая стенку. Прежде чем соединить стенку с донышком верхний край стенки выровнять.Меховой колпак сшит, далее сшить колпак из пальтовой ткани (или любой плотной ткани например - ватин, байка уплотненная и т.д.)Выкраиваем, сшиваем колпак из плотной ткани, на болванке устанавливаем нужный размер шапки, увлажняем колпак, одеваем на болванку и сушим, болванку предварительно обмотать целлофановым пакетом любым.К нижней части мехового колпака пришиваем косую бейку из подкладочной ткани, шириной 2....3 см., пришиваем примерно на 2/3 головы, увлажняем меховой колпак и формируем, одеваем на рабочую болванку с предварительно высушенным колпаком, закрепляем ( пробиваем по краю колпака веревку иглами, иглы использовать можно швейные для машинки №100 или №110) и сушим. После сушки все вместе снимаем колпак меховой и колпак из ткани, дошиваем недошитую бейку, излишки колпака вырезать и подвернуть (припуск должен быть 2...3 см.) далее пришиваем потайными стежками подклад. Изменено 11 декабря, 2011 пользователем Просто Эльвира Никогда не бойся делать то,что ты не умеешь.Помни, ковчег построен любителем,а "Титаник"-профессионалами... Ссылка на сообщение Поделиться на другие сайты Поделиться
наталья неретина Опубликовано 11 декабря, 2011 Поделиться #374 Опубликовано 11 декабря, 2011 Не знаю, можно-ли в этой теме вопрос купли-продажи? Мне нужен болван "Круглая головка", куплю.. Есть другие болваны ...которые можно продать, где уместно такое предложение? Ссылка на сообщение Поделиться на другие сайты Поделиться
Клюковка Краснихина Опубликовано 12 декабря, 2011 Поделиться #375 Опубликовано 12 декабря, 2011 Не знаю, можно-ли в этой теме вопрос купли-продажи? Мне нужен болван "Круглая головка", куплю.. Есть другие болваны ...которые можно продать, где уместно такое предложение? Наталья, создайте такую новую тему!Будем меняться болванками... Ссылка на сообщение Поделиться на другие сайты Поделиться
Рекомендуемые сообщения